一、无线支付宝盒N7HD外观
支付特性:支持支付宝NFC碰一碰或者出示微信/支付宝付款码进行扫码支付。
购买路径:排队中台商城已上架(通讯方式为无线网络+含2年流量卡)


含
二、设备对接授权绑定流程
1、聚商荟前台需升级到6.2.9或者以上版本
补丁升级下载地址: https://help-jsh.paidui.com/f0cb/7d14
2、申请商户支付宝授权报名
(1)代理商登录机构后台 ams.paidui.cn 在设备管理->支付宝授权申请->新增报名
PS:同一个商户只需要申请一次支付宝授权,后续绑定支付宝不同序号的无线设备可以共用授权,只需绑定SN和签约码即可使用。

输入申请商户:聚好付商户号
输入支付宝账号:法人登录手机号或支付宝邮箱
提交总部审核后审核状态显示待审核


(2)排队网总部客服审核授权
发送聚好付商户编号到客服群,等待聚好付客服进行审核发起支付宝申请授权到官方(由聚好付客服在JMS操作)

输入审核原因和商户支付宝商户号,提交支付宝官方等待审核结果,代理商可以在ams管理后台刷新查看审核状态进度。


(3)总部审核提交申请后,审核状态会显示待申请授权,变更为商户授权中状态。

(4)商户法人登录个人支付宝,确认全权委托运营授权深圳排队网络技术有限公司
商户登录个人支付宝app,在消息盒子里可以看到【商家平台待办申请确认】,进去点确认授权成功后,支付宝授权流程申请完成,聚好付申请审核状态会变更为授权成功


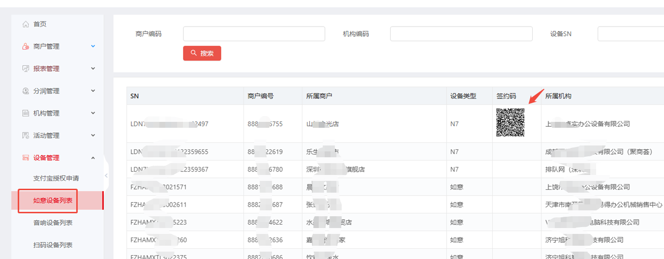
(5)支付宝授权成功后,商户到聚好付商户后台操作绑定设备SN和扫授权码
登录聚好付商户后台 mms.paidui.cn 在设备管理->如意设备列表->绑定设备->输入设备SN->绑定成功。
PS:如未注册聚好付商户账号可查看聚好付商户后台登录账号注册流程




绑定序列号成功后,需要商户法人打开个人支付宝APP扫一下签约码授权(签约码生成可能滞后出来10分钟在刷新,JMS/AMS/MMS后台均支持查看)
PS:如果同一个商编绑定多台设备,每台设备签约码需要法人支付宝单独各扫一次签约

授权成功后,设备左上角会显示当前绑定商户名称,如果没有显示需要重启下设备。

3、最后一步聚商荟前台POS关联绑定设备SN号
登录聚商荟前台->设置->收银参数->常规->启用支付宝N7H设备支付,输入设备背面完整SN编号->保存。

三、测试支付流程
前台收银界面点单->结账->点击扫码支付会唤起N7HD支付设备收款->碰一碰支付或扫码支付即可。

点单结账

点扫码支付

唤起支付设备
打开手机NFC功能,使用支付宝碰一碰或者出示微信/支付宝付款码进行扫码支付也可以。
PS:碰一碰中间有扫码摄像头


四、设备解绑流程
提供设备背面SN号,联系聚好付客服解绑即可。
